DFB series
This series flowmeter is clear viewing type with hex nuts. It is used in a large measuring range.
Technical Parameters of DFB series Panel Type Flow Meter
Model | Range |
Screw thread |
Accuracy | ||
GPM (Liquid) | LPM (Liquid) | Nm3/h (Gas) | |||
DFB-15 | 0.1-1 | 0.5-4 |
1-10 1.6-16 4-40 |
(M)1/2"BSPT |
±4% |
0.2-2 | 0.8-8 | ||||
0.5-5 | 2-18 | ||||
1-7 | 2-28 | ||||
1.5-9 | 400-2000LPH | ||||
DFB-20 | 2-10 | 8-40 | 6-60 16-80 16-160 | (M)3/4"BSPT | |
2-16 | 8-60 | ||||
2-20 | 8-80 | ||||
DFB-25 | 1.5-15 | 6-60 |
20-200 25-250 |
(M)1"BSPT | |
3-13 | 10-50 | ||||
4-24 | 10-100 | ||||
5-35 | 10-130 | ||||
5-45 | 20-170 | ||||
DFB-40 | 10-45 | 40-170 | (M)1 1/2"BSPT | ||
10-50 | 60-200 | ||||
20-60 | 60-240 | ||||
20-70 | 60-260 | ||||
20-80 | 60-300 | ||||

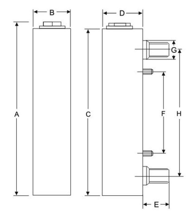
The outline size of LZM series flowmeter
Model
| Size (mm) | |||||||
A | B | C | D | E | F | G | H | |
DFB -15 | 216 | 32 | 206 | 37 | 36 | 100 | 28 | 165 |
DFB -20 | 233 | 39 | 220 | 44 | 42 | 100 | 37 | 165 |
DFB -25 | 253 | 44 | 240 | 50 | 31 | 100 | 37 | 175 |
DFB -40 | 265 | 62 | 250 | 62 | 33 | 100 | 52 | 170 |
The material and code of the parts of DFB series Flow Meter
Fitting | Float | O-ring |
1 ABS 2.PP 3.PVC 4.Brass 5.Brass -chromeplate 6.SS | Ss Acrylic Agate ball PTFE | 1-Silicon rubber 2-Fluorin rubber
|
