This is a highly accurate glass rotameter with diversified joints and various options of scalings from to percentage.
VA10 is thereaded connection. SA 10 is hose connection, FA 10 is movable falnge connection.
Main Technical Parameters
| Model | Diameter (mm) | Range | Accruacy (±%) | Working Temperature | Working Pressure | |
Water 20℃ (L/h) | Air 101325Pa20℃ (m3/h) | |||||
VA10-15 SA10-15 FA10-15 | 15 | 4-40 6.3-63 10-100 12-120 16-160 20-200 25-250 30-300 36-360 40-400 46-460 63-630 65-650 75-750 | 0.12-1.2 0.2-2 0.3-3 0.4-4 0.5-5 0.6-6 0.8-8 0.9-9 1.2-12 2-20 | 1.5 | -20~+60℃ or -20~+120℃ |
≤1.0MPa |
VA10-25 SA10-25 FA10-25 | 25 | 40-400 50-500 63-630 80-800 100-1000 120-1200 160-1600 200-2000 250-2500 300-3000 | 1.6-16 2-20 2.5-25 3-30 4-40 5-50 6-60 | |||
VA10-40 SA10-40 FA10-40 | 40 | 160-1600 200-2000 250-2500 300-3000 400-4000 500-5000 | 5-50 6-60 8-80 9-90 12-120 | ≤0.9MPa | ||
VA10-50 SA10-50 FA10-50 | 50 | 250-2500 300-3000 400-4000 500-5000 630-6300 800-8000 1000-10000 1500-15000 4000-16000 | 10-100 12-120 16-160 20-200 30-300 | ≤0.7MPa | ||



VA10 Outline Dismension
Dismeters (mm) | Display windown size a×b | VA10 Threaded Connection | ||
| L1 | C | Thread | ||
| 15 | 26×230 | 408 | 53 | 1/2"BSP |
| 25 | 414 | 75 | 1"BSP | |
| 40 | 40×230 | 428 | 92 | 11/2"BSP |
| 50 | 50×230 | 431 | 116 | 2"BSP |
SA10 Outline Dismension
Dismeters (mm) | Display windown size a×b | SA10 Hose Connection | ||
| L2 | C | D | ||
| 15 | 26×230 | 400 | 13.5 | 44 |
| 25 | 450 | 27 | 65 | |
| 40 | 40×230 | 44 | 80 | |
| 50 | 50×230 | 53 | 103 | |
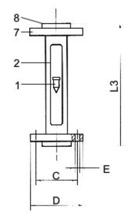
FA10 Outline Dismension
Dismeters (mm) | Display windown size a×b | FA10 Flange Connection | |||
| L3 | C | D | E | ||
| 15 | 26×230 | 320 | 65 | 95 | 4-14 |
| 25 | 85 | 115 | |||
| 40 | 40×230 | 110 | 140 | 4-18 | |
| 50 | 50×230 | 125 | 160 | ||