The material of the corrosion resistant flow meters parts that contacts the medium are as
follows: the glass tube is made of high boron silicon glass, float and leader are covered with PTPE,
and the seal ring is F46 ring.
Technical Parameters of LZB Series Flow meter
Model | LZB-15 | LZS-25 | LZB-40 | LZB-50 | LZB-80 | LZB-100 | LZB-100 | |
Diameter (mm) | 15 | 25 | 40 | 50 | 80 | 100 | 100 | |
Range |
Liquid l/h | 6-60 | 40-400 | 160-1600 | 160-1600 | 1-10 m3/h | 5-25m3/h | 20-90m3/h |
| 8-80 | 60-600 | 180-1800 | 400-4000 | 1.6-16 m3/h | 6-35 | 20-100m3/h | ||
16-160 | 100-1000 | 250-2500 | 600-6000 | 2-20 m3/h | 8-40m3/h | 30-100m3/h | ||
25-250 | 160-1600 | 300-3000 | 800-8000 | 3-25m3/h | 12-60m3/h | 50-120m3/h | ||
40-400 | 400-4000 | 1-10m3/h | 8-40m3/h | 16-80m3/h | ||||
| 1-5m3/h | 4-16m3/h | |||||||
| 1.5-6m3/h | ||||||||
Gas m3/h | 0.25-2.5 | 0.8-8 | 4-40 | 6-60 | 50-250 | 60-200 | 300-1500 | |
0.4-4 | 1-10 | 5-50 | 10-100 | 80-400 | 80-400 | 300-1500 | ||
| 0.6-6 | 1.6-16 | 6-60 | 16-160 | 750-7500l/min | 100-500 | 400-2000 | ||
0.8-8 | 2.5-25 | 7-70 | 2-200 | 60-600 | 120-600 | 500-2500 | ||
| 1-10 | 3-30 | 8-80 | 30-300 | 200-1000 | ||||
| 4-40 | 10-100 | 50-250 | ||||||
| 80-400 | ||||||||
Accuracy(±%) | 2.5 | 1.5 | 1.5 | 1.5 | 1.5 | 1.5 | 1.5 | |
Pressure(MPa) | ≤0.6 | ≤0.6 | ≤0.6 | ≤0.6 | ≤0.4 | ≤0.4 | ≤0.4 | |
Technical Parameters of LZB-F Series Glass Rotameter
| Model | LZB-15 | LZB-25F | LZB-40F | LZB-50F | LZB-80F | LZB-100F | |
| Diameter (mm) | 15 | 25 | 40 | 50 | 80 | 100 | |
| Range | Liquid l/h | 16-160 | 40-400 | 160-1600 | 400-4000 | 1-10 m3/h | 5-25m3/h |
| 25-250 | 60-600 | 250-2500 | 600-6000 | 1.6-16 m3/h | 8-40m3/h | ||
| 40-400 | 100-1000 | ||||||
Gas m3/h | 0.25-2.5 | 1-10 | 4-40 | 10-100 | 50-250 | 120-600 | |
| 0.4-4 | 1.6-16 | 6-60 | 16-160 | 80-400 | 200-1000 | ||
| 0.6-6 | 2.5-25 | ||||||
| Accuracy(±%) | 4 | 2.5 | 2.5 | 2.5 | 2.5 | 2.5 | |
| Pressure(MPa) | ≤0.6 | ≤0.6 | ≤0.6 | ≤0.6 | ≤0.4 | ≤0.4 | |

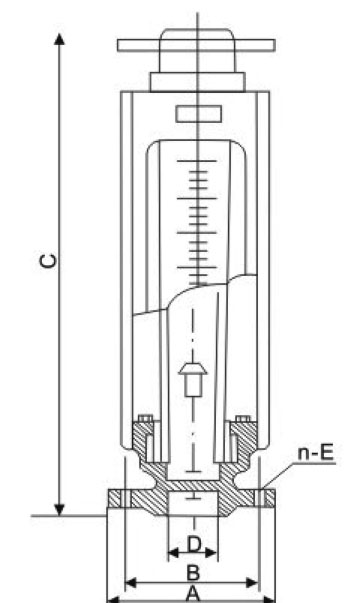
The Drawing and Insatllation Dimenaions od LZB
| Model | Dismensions(mm) | ||||
| A | B | C | D | n-E | |
| LZB-15 | 95 | 65 | 470±2.5 | 15 | 4-14 |
| LZB-25 | 115 | 85 | 470±2.5 | 25 | 4-14 |
| LZB-40 | 145 | 110 | 570±3 | 40 | 4-18 |
| LZB-50 | 160 | 125 | 570±3 | 50 | 4-18 |
| LZB-80 | 185 | 150 | 660±3.5 | 80 | 4-18 |
| LZB-100 | 205 | 170 | 660±3.5 | 100 | 4-18 |
