DH250 series variable area flowmeter is a kind of measuring meter which has local indication type and LCD displaying instantaneous/ accumulated flow rate, upper-limit and lower-limit alarm output, accumulative pulse output, batch control, standard two-wire 4-20mA current output, HART communi-cation, ect. Our product is good replacement of H250, FAM540 and other similar rotamet- ers and widely used in the process control of industrial automation.
You may see our product is wildly used in many industries such as petrochemical, steel and iron, electric power, metallurgy, light industry, food, pharmacy and water processing of domestic China and worldwide.
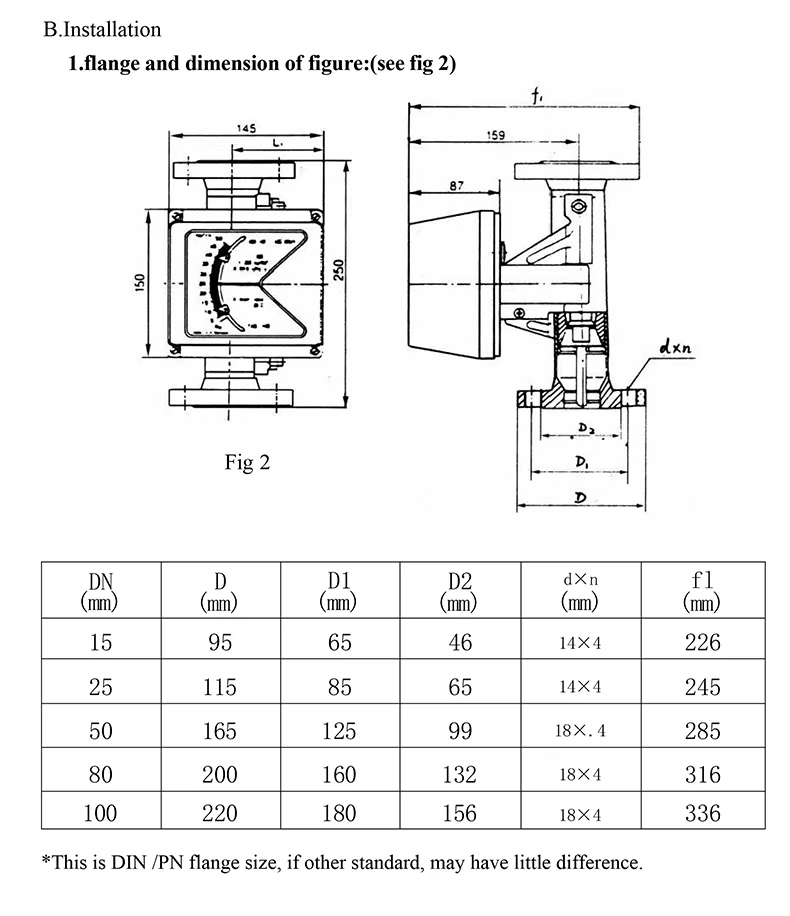
Specifications:
Meter Model | DH250 Series |
Flow range | Water 2.5 l/h to 200 m3/h |
Flow span | 10:1, 5:1, |
Accuracy | 2.5% |
Connections | DIN Flange, ANSI Flang, JIS Flange Thread BSP/NPT Clamp |
Plug in Connections | M20*1.5 or M16*1.5 |
Max.Allow. pressure | DN15~DN50 4MPA, DN80~DN150 1.6MPA |
Temperature range | Fluid temperature |
Materials | SS304、SS316L |
Protection class | IP65.IP66 |
Supply power | 24V DC |
Ex-Design | Exia II CT1-T4Ga, Exd II CT4-T6Gb |



